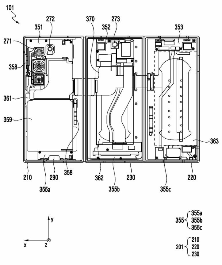
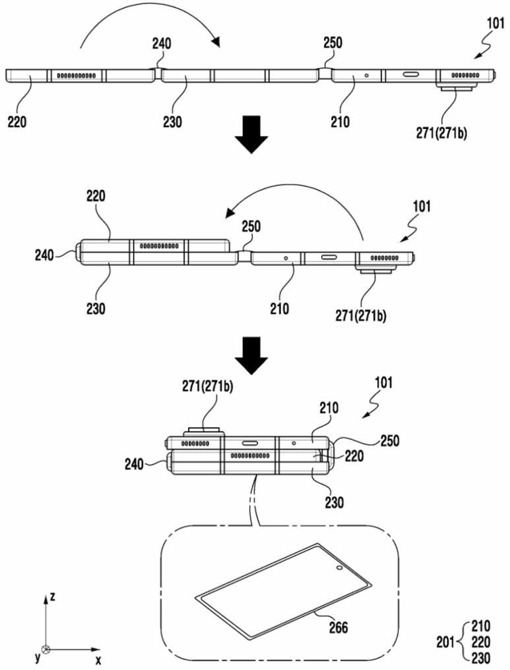
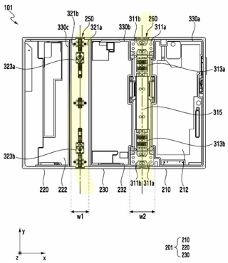
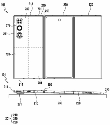
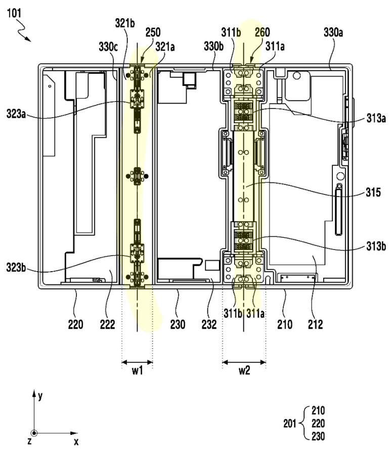
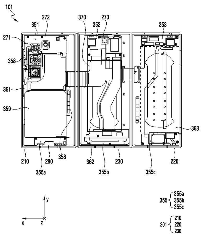
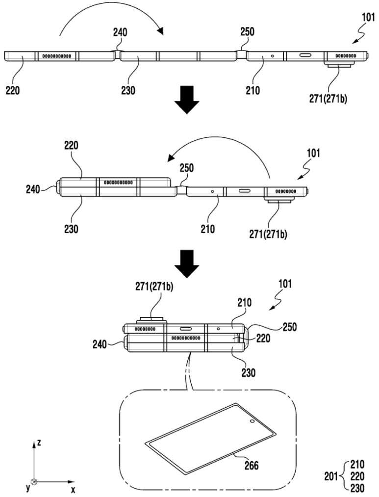
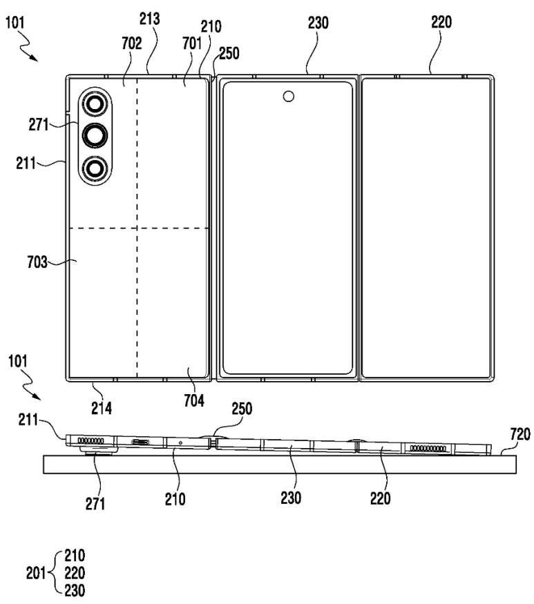
Этой осенью Samsung планирует представить миру свой первый складной втрое смартфон. Проект предварительно именуется Galaxy Z TriFold и окружён множеством противоречивых слухов, поскольку корейцы старательно пытаются избегать утечек. Но получается у них так себе: информатор Ice Universe опубликовал нечто, похожее на патентные схемы смартфона:
Судя по ним, первая трикладушка Samsung получит три камеры, размещённые "светофором", три аккумулятора неизвестной пока ёмкости, как минимум четыре динамика и один внешний экран. На гибкой внутренней панели фронталка размещена в отверстии по центру левой трети. По последним данным, премьера Samsung Galaxy Z TriFold может состояться уже в конце октября.
ПО МАТЕРИАЛАМ: weibo.com
АВТОР: Владимир Ковалёв







